教育培训系统报名操作说明
一、报名网址
登录【中国地质灾害防治与生态修复协会】网站https://caghp.org.cn/,【业务办理】中点击【教育培训】进入报名页面。

二、注册登录
特别提醒:为保障每位学员单独生成有效个人培训记录,请各单位报名人员(包含代报名人员)务必使用学员本人身份证注册报名,注册手机号可以同时一号多人使用。
(一)用户登录
1.参加过协会组织的培训的人员,输入用户名和密码点击登录直接进入报名页面。
用户名:学员身份证号
密码:注册时设置的密码
忘记登录密码,请点击登录页面“找回密码”。

(二)注册用户
未参加过协会组织的培训的人员,需首先进行用户注册。完成注册后,重新登录,进行报名。
进入注册页面,按照提示要求,录入个人相关信息,确认无误点击提交。

三、报名流程
登录系统后,显示当前可以报名的课程列表。点击您所需报名的课程【报名】,进入课程报名页面。

请完整填写报名信息后,点击【提交】,提示“ 您已成功报名”,并会随后收到短信提醒,代表已经报名成功。所填写报名页面信息,学员可以进行修改。
注意:
1.除单位会员编号和单位是否为会员,其他项均为必填;
2.注意手机号、邮箱、邮编、固定电话等信息的规范性;
3.注意选择证书名称。


四、报名查询
报名成功后,点击【我的培训】查看即可报名的所有课程,并可进行取消报名。

五、缴费与发票
报名并缴费成功后,登录报名系统,点击左侧菜单栏【缴费及发票】,选择相应报名课程;点击【上传缴费凭证】上传缴费凭证。上传成功后,点击【入进群二维码】扫描入群二维码加入课程交流群,群内将分享听课方式、课程安排等信息。点击【课件】进入下载列表进行本期培训课件的下载。培训结束后统一安排邮寄纸质发票。


六、报名信息及开票信息修改
报名成功后,所填写报名页面信息和开票信息,学员可以进行修改。点击左侧栏目的“我的培训”进入培训列表,点击操作中的“修改”按钮弹出修改页面,可以对报名信息和开票信息进行修改,修改完进行保存。

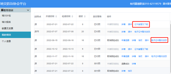
七、证书查询与下载
(一)点击左侧栏目的“我的培训”进入培训列表。
点击操作中“证书查看及下载”按钮可以查看电子证书。
培训课程完成之前,证书未发放时,显示“电子证书暂未发放”。

(二)点击下载按钮进行证书下载

八、个人信息修改
个人基本信息修改,可以点击【个人信息】栏进行修改,包括密码修改。

九、通知附件及课程微信交流群二维码下载
登录后,课程右侧查看附件,即可【下载】的课程通知及微信交流群二维码等

版权所有:中国地质灾害防治与生态修复协会
地址:北京市海淀区中关村东路66号世纪科贸大厦B座2层 电话:010-62119819
京ICP备12052178号-2 京公网安备 11010702001900号
免责声明:本网站从行业工作角度出发,所载信息部分来自相关媒体,版权属原作者所有,如有不妥,请告知,我们将及时处理。